Zajadacz EVI

ALRE-IT Tauchhülse m.Einstich THMs/200

200mm G9990040

Artikel
3823976
Lieferanten Typ
THMs/200
Lieferanten Artikel
G9990040

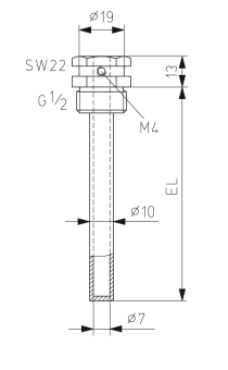
Beschreibung

Tauchhülsen für HF, EKF und IKF für Hülsenfühler
Ø 6 mm PVC und Silikon, Einbau- und Industriekanalfühler
Tauchhülsen Messing vernickelt mit Einstich
Einbaulänge: 200 mm
Durchmesser: 7x10 mm
max. Druck: 20 P/bar

Hersteller-Seite

Artikeleigenschaften

Zolltarif-Nr.
74112190
Ursprungs-Land
DE
WEEE-Land
DE
WEEE-Nummer
58457361
Material Tauchrohr
Messing
Druckstufe Artikel
PN 20
Nenndurchmesser Anschluss
1/2 Zoll (15)
Innendurchmesser
6,5 mm
Außendurchmesser
8 mm
Einstecklänge
200 mm
ETIM-Klasse
Tauchrohr

Zubehör

Oft zusammen gekauft