Zajadacz EVI

DEHN Dachrinnenklemme 339100

Artikel
223338
Lieferanten Typ
DRK KB 8.10 W16.22 E
Lieferanten Artikel
339100

Beschreibung

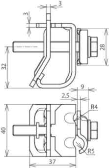
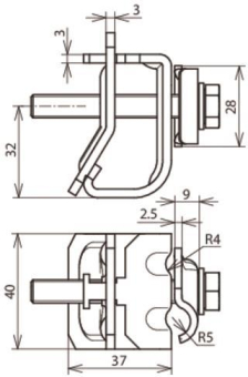
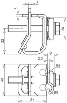
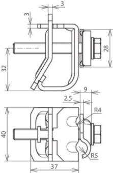
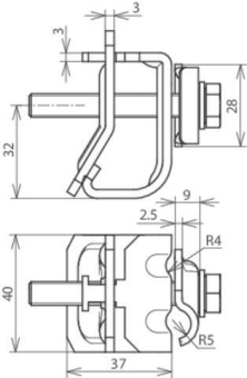
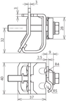
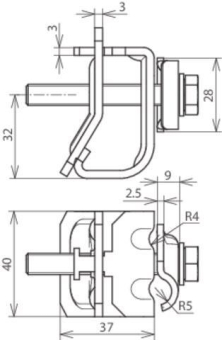
Dachrinnenklemme nach DIN EN 62561-1, zum Verbinden von Rundleitern dem Wulst der Dachrinne. Ausführung in Einschraubentechnik mit Klemmbock, Leitungsführung längs.

Hersteller-Seite

Artikeleigenschaften

Zolltarif-Nr.
85359000
Ursprungs-Land
DE
WEEE-Land
DE
WEEE-Nummer
11890845
Art des Verbinders
Dachrinnenklemme
Geeignet für Rundleiterdurchmesser
8.0 - 10.0 mm
Klemmbereich
16.0 - 22.0 mm
Werkstoff
Stahl
Oberflächenschutz
feuerverzinkt
Art der Befestigungsschrauben
Sechskantschraube
ETIM-Klasse
Anschlussklemme für Blitzschutz