Zajadacz EVI

DEHN Rettungsstange Un ... RST 36 1000

36kV L 1000mm 766040

Artikel
2580574
Lieferanten Typ
RST 36 1000
Lieferanten Artikel
766040

Beschreibung

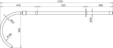
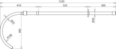
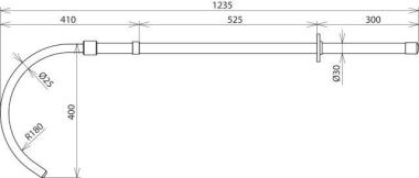
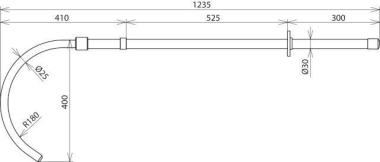
Isolierstange nach DIN VDE 0681-1 als Rettungsstange zum Bergen von Personen aus dem Gefahrenbereich bei Elektrounfällen. Rettungshaken aus Vollkunststoff ist überbrückungssicher.

Hersteller-Seite

Artikeleigenschaften

Zolltarif-Nr.
82055980
Ursprungs-Land
DE
WEEE-Land
DE
WEEE-Nummer
11890845
Geräteart
Rettungsstange
Nennspannung
1.0 - 36.0 kV
Einsatzgebiet
Innenraum- und Freiluftanlagen
Geeignet für Bahnanlagen
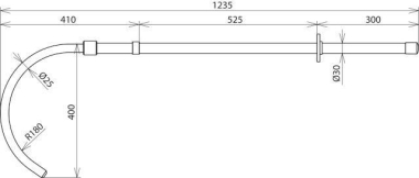
Gesamtlänge
1235.0 - 1235.0 mm
Verlängerbar im Handhabebereich
Eintauchtiefe
410 mm
Durchmesser
30 mm
Verdrehungssichere Steckkupplung
Verwendbar bei Niederschlägen
Geeignet für Arbeiten unter Spannung
ETIM-Klasse
Betätigungsstange