Zajadacz EVI

FF 138.13 Wd Fafix 138W.13-----E91

Profix2 Ohne Stulp 12 V Gs Universal

Artikel
4756500
Lieferanten Typ
138W.13-----E91
Lieferanten Artikel
138W.13-----E91

Beschreibung

Modell mit Basisausstattung.

Artikeleigenschaften

Zolltarif-Nr.
83014019
Ursprungs-Land
DE
WEEE-Land
DE
WEEE-Nummer
69404980
Ausführung
sonstige
Bauform
symmetrisch
Einbaulage
universal
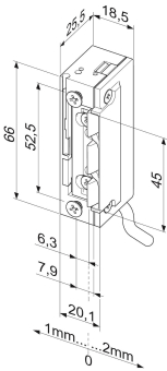
Höhe
66 mm
Breite
20,1 mm
Tiefe
25,5 mm
Zusammenstellung
Rahmenteil
Spannung
12 - 12 V
Mit Arretierung
Mit mechanischer Entriegelung
Mit Rückmeldung
Öffnungsrichtung nach DIN
links/rechts
Wassergeschützt
Montageart
Einbau
Kompatibel mit Apple HomeKit
Kompatibel mit Google Assistant
Stromart
DC
Arbeitsweise
Arbeitsstrom
Kompatibel mit Amazon Alexa
IFTTT-Unterstützung verfügbar
Pulskontakt
Verstellbare Türöffnerfalle
Verstellbarer Türöffner
Verstellbares Schließblech
Fallenführung integriert
Für Fallenrutsche
Art der Entriegelung
Standardausführung
Dauerbetrieb (100 % ED)
Mechanische Entriegelung
Geeignet für Feuerschutztür
Geeignet für Rauchschutztür
Mit Schließblech
Gebrauchskategorie nach EN 14846
3
Dauerfunktionstüchtigkeit nach EN 14846
C
Masse der Tür, Schließkraft nach EN 14846
5
Geeignet für Feuer-/Rauchschutztüren nach EN 14846
0
Umgebungsbedingung nach EN 14846
0
Sicherheit - Einbruchschutz nach EN 14846
0
Schutzwirkung elektrische Funktionsweise nach EN 14846
0
Schutzwirkung mechanische Funktionsweise nach EN 14846
1
ETIM-Klasse
Elektrischer Türöffner

Oft zusammen gekauft