Zajadacz EVI

FF Türöffner 24V DC Fafix Fix 332.80

Rückmeldekon. Diode ohne Schliess. Unive

Artikel
2581073
Lieferanten Typ
332.80------F91
Lieferanten Artikel
332.80------F91

Beschreibung

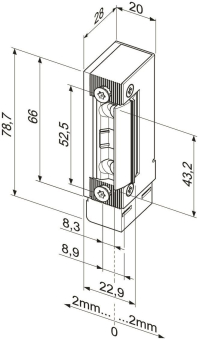
Die kompakte Bauform des effeff-Fluchttüröffners 332.80 ermöglicht eine schnelle und unkomplizierte Montage in die unterschiedlichsten Profile und Zargen.

Hersteller-Seite

Artikeleigenschaften

Zolltarif-Nr.
83014019
Ursprungs-Land
DE
WEEE-Land
DE
WEEE-Nummer
69404980
Ausführung
Fluchttüröffner
Bauform
symmetrisch
Einbaulage
universal
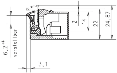
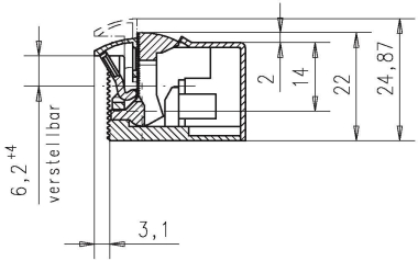
Höhe
78,7 mm
Breite
20 mm
Tiefe
28 mm
Zusammenstellung
Rahmenteil
Spannung
24 - 24 V
Mit Arretierung
Mit mechanischer Entriegelung
Mit Rückmeldung
Öffnungsrichtung nach DIN
links/rechts
Wassergeschützt
Montageart
Einbau
Kompatibel mit Apple HomeKit
Kompatibel mit Google Assistant
Stromart
DC
Arbeitsweise
Arbeitsstrom
Kompatibel mit Amazon Alexa
IFTTT-Unterstützung verfügbar
Pulskontakt
Verstellbare Türöffnerfalle
Verstellbarer Türöffner
Verstellbares Schließblech
Fallenführung integriert
Für Fallenrutsche
Art der Entriegelung
Standardausführung
Dauerbetrieb (100 % ED)
Mechanische Entriegelung
Geeignet für Feuerschutztür
Geeignet für Rauchschutztür
Stulpform
ohne
Mit Schließblech
ETIM-Klasse
Elektrischer Türöffner

Oft zusammen gekauft