Zajadacz EVI

NIED E-KLIPS,Flanschkralle AH814-JM2933

m.Rohrclip,t= 8-14mm,D 29-33mm

Artikel
318078
Lieferanten Typ
AH814-JM2933
Lieferanten Artikel
AH814-JM2933

Beschreibung

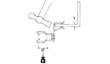
E-Klips, Flanschkralle mit Rohrclip, zum Aufschlagen mit dem Hammer auf verschiedenste Trägerflansche, Rohrclip an Flanschkralle drehbar, für Rohrabhängung. Abmessungen (ca. Maße) für Flanschstärke T : 8 - 14 mm Aufschlagtiefe B : 20,3 mm für Rohr-Ø : 29 - 33 mm Tragfähigkeit F : 0,07 kN Werkstoff : Stahl, mechanisch verzinkt/passiviert nach DIN EN ISO 9227

Hersteller-Seite

Artikeleigenschaften

Zolltarif-Nr.
73269096
Ursprungs-Land
GB
Befestigungsart
Federklemme
Anschlussart/-bauteil
Rohr/Kabel
Geeignet für Flanschstärke
8 - 14 mm
Rohr-/Kabeldurchmesser
29 - 33 mm
Scharnierend
Scharnier justierbar
Werkstoff
Federstahl
Werkstoffgüte
sonstige
Oberflächenschutz
galvanisch/elektrolytisch verzinkt
ETIM-Klasse
Befestigungsklammer

Oft zusammen gekauft