Zajadacz EVI

NIED E-KLIPS, Flanschkralle, t= AV-155

1,5-5 mm Stahl, mechanisch

Artikel
317840
Lieferanten Typ
AV-155
Lieferanten Artikel
AV-155

Beschreibung

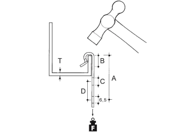
E-Klips, Flanschkralle, zum Aufschlagen auf verschiedenste um 90° abgewinkelte Trägerflansche. Abmessungen (ca. Maße) für Flanschstärke T : 1,5 - 5 mm Aufschlagtiefe B : 14 mm Anschlussbefestigungsloch : Ø 6,5 mm mittiger Abstand zur Oberkante Aufschlagwinkel : 42 mm weiteres Befestigungsloch : ? 6,5 mm mittiger Abstand zum Anschlussbefestigungsloch : 12 mm Tragfähigkeit F : 0,72 kN Werkstoff : Stahl, mechanisch verzinkt/passiviert nach DIN EN ISO 9227

Hersteller-Seite

Artikeleigenschaften

Zolltarif-Nr.
73269096
Ursprungs-Land
GB
Befestigungsart
Federklemme
Anschlussart/-bauteil
Kette
Geeignet für Flanschstärke
1.5 - 5 mm
Scharnierend
Scharnier justierbar
Werkstoff
Federstahl
Werkstoffgüte
sonstige
Oberflächenschutz
galvanisch/elektrolytisch verzinkt
ETIM-Klasse
Befestigungsklammer

Oft zusammen gekauft