Zajadacz EVI

NIED LS-Trennstegbef.-platte LZTP 200 E3

LZTP200ER Edelstahl

Artikel
1412183
Lieferanten Typ
LZTP 200 E3
Lieferanten Artikel
4013339840458

Beschreibung

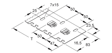
Trennprofilhalter, mit Zugentlastung, für die senkrechte Montage eines Trennsteges und zur Unterteilung des Innenraumes von Leitungsschutzkanälen, einsetzbar im Boden der Leitungsschutzkanäle, der Potentialausgleich erfolgt zwangsläufig beim Einsetzen. VDE zertifiziert! Verwendung für : Leitungsschutzkanäle LLK... / LUK... mit 200 mm Breite Abmessungen (ca. Maße) Tiefe T : 199 mm Werkstoff : Edelstahl, Werkstoff Nr. 1.4301, AISI 304

Hersteller-Seite

Artikeleigenschaften

Zolltarif-Nr.
73089059
Ursprungs-Land
DE
Anwendung
universal
Befestigungsart
Boden (Unterseite)
Werkstoff
rostfreier Stahl
Werkstoffgüte
Edelstahl 304 (1.4301)
Halogenfrei
Oberflächenschutz
sonstige
ETIM-Klasse
Trennwandhalterung für Installationskanal