Zajadacz EVI

NIED Ls-Trennstegbef.-Platte LZTP100

Artikel
120059
Lieferanten Typ
LZTP 100
Lieferanten Artikel
LZTP100

Beschreibung

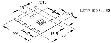
Trennstegbefestigungsplatte

aus bandverzinktem Stahl nach EN 10346, für LS-Kanäle zur senkrechten Montage des Trennstegs bzw. zur Unterteilung des LS-Rechteckkanal Innenraumes, mit Zugentlastung, der Potenzialausgleich erfolgt zwangsläufig beim Einsetzen in den Kanal.

Hersteller-Seite

Artikeleigenschaften

Zolltarif-Nr.
73089059
Ursprungs-Land
DE
Anwendung
universal
Befestigungsart
Boden (Unterseite)
Werkstoff
Stahl
Werkstoffgüte
sonstige
Halogenfrei
Oberflächenschutz
bandverzinkt
ETIM-Klasse
Trennwandhalterung für Installationskanal

Oft zusammen gekauft