NIED Niedax GSF0408 GSF 0408

Schräggleitmutter mit Klemmfeder, Gew.

Artikel
130793
Lieferanten Typ
GSF 0408
Lieferanten Artikel
4013339119707

Beschreibung

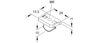
Schräggleitmutter mit Klemmfeder (phosphatiert), die Gleitmutter ist an jeder Stelle im Profil einsetzbar, selbsthaftend und unverlierbar durch die Blattfeder. Verwendung für : Reihenschiene 2970 und 2971 mit 16 mm Schlitzweite Abmessungen (ca. Maße) Gleitmutter Länge L x Breite B : 26 x 15,5 mm Materialstärke t : 4 mm Gewinde : M 8 Blattfeder Breite B x Höhe H : 12 x 10 mm Gesamthöhe H : 14 mm Werkstoff Gleitmutter : Stahl, galvanisch verzinkt nach DIN EN ISO 4042, dickschichtpassiviert Werkstoff Blattfeder : Federstahl, phosphatiert, leicht geölt

Hersteller-Seite

Artikeleigenschaften

Zolltarif-Nr.
73181692
Ursprungs-Land
DE
Werkstoff
Stahl
Oberflächenschutz
galvanisch/elektrolytisch verzinkt
Gewindemaß (metrisch)
8
Gewindeart
metrisch
Mit Feder
Mit Unterlegscheibe
Mit Spannplatte
Mit Sechskantmutter
Mit Gewindeende
Einklickbar
Werkstoff des Klickbefestigungselements
Stahl
ETIM-Klasse
Gleitmutter