Zajadacz EVI

NIED Zentralabhängung ZCB200

**

Artikel
318742
Lieferanten Typ
ZCB 200
Lieferanten Artikel
ZCB200

Beschreibung

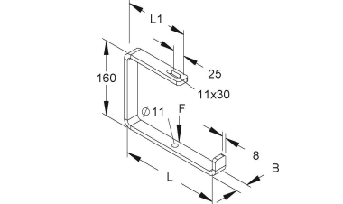
Zentralabhängung, C-Bügel für die zentrale Kabelrinnenabhängung
mittels Gewindestange M 10

Hersteller-Seite

Artikeleigenschaften

Zolltarif-Nr.
73089059
Ursprungs-Land
HU
Länge
210 mm
Breite
25 mm
Höhe
160 mm
Geeignet für Kabeltragsystembreite
50 - 200 mm
Ausführung
Doppelausleger
Winkel
90 - 90 °
Sichere Arbeitslast nach IEC 61537
600 N
Geeignet für Funktionserhalt
Werkstoff
Stahl
Werkstoffgüte
sonstige
Oberflächenschutz
feuerverzinkt
Einsatztemperatur
-20 - 120 °C
ETIM-Klasse
Ausleger für Kabeltragsystem

Oft zusammen gekauft