Zajadacz EVI

Niedax Distanzprofil Z-Profil RZP 80/500

80x500mm m.Systemlochung bandverzinkt

Artikel
317774
Lieferanten Typ
RZP 80/500
Lieferanten Artikel
RZP80/500

Beschreibung

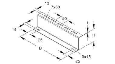
Distanzprofil, mit Systemlochung, das Z-Profil ermöglicht eine kostengünstige aufgeständerte Bodenmontage von begehbaren Kabelrinnen, einschließlich anteilmäßigen Befestigungszubehör. Bei der Montage ist auf eine wechselseitige Anordnung zu achten! Verwendung für : begehbare Kabelrinnen Abmessungen (ca. Maße) H x B : 80 x 500 mm Materialstärke t : 2 mm Bodenbefestigungslochung : 9 x 15 mm Rinnenbefestigungslochung : 7 x 38 mm mittiger Abstand : 50 mm Werkstoff : Stahl, bandverzinkt nach DIN EN 10346

Hersteller-Seite

Artikeleigenschaften

Zolltarif-Nr.
73089059
Ursprungs-Land
DE
Länge
500 mm
Breite
500 mm
Höhe
80 mm
Schlitzbreite
38 mm
Materialstärke
2 mm
Profilform
Z-Profil
Ausführung
Einfachprofil
Art der Lochung
2 Seiten gelocht
Lochbreite
9 mm
Mit Zahnung
Abbrechbar
Geeignet für Funktionserhalt
Werkstoff
Stahl
Werkstoffgüte
sonstige
Oberflächenschutz
bandverzinkt
Gewicht
1,0843 kg
ETIM-Klasse
Stiel/Profilschiene

Oft zusammen gekauft