Zajadacz EVI

Niedax E-KLIPS, Kralle Flansch, AH-814

t= 8-14mm Stahl, mech. verzinkt/passivie

Artikel
317838
Lieferanten Typ
AH-814
Lieferanten Artikel
AH-814

Beschreibung

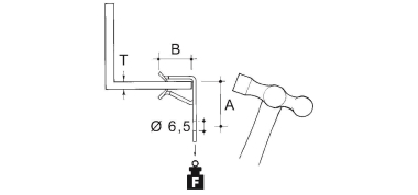
E-Klips, Flanschkralle. zum Aufschlagen mit dem Hammer auf verschiedenste Trägerflansche. Abmessungen (ca. Maße) für Flanschstärke T : 8 - 14 mm Aufschlagtiefe B : 20,3 mm Befestigungslochung : Ø 6,5 mm Lochabstand zur Flanschoberfläche A : 26 mm Tragfähigkeit F : 0,9 kN Werkstoff : Stahl, mechanisch verzinkt/passiviert nach DIN EN ISO 9227

Hersteller-Seite

Artikeleigenschaften

Zolltarif-Nr.
73269096
Ursprungs-Land
GB
Befestigungsart
Federklemme
Anschlussart/-bauteil
Kette
Geeignet für Flanschstärke
8 - 14 mm
Scharnierend
Scharnier justierbar
Werkstoff
Federstahl
Werkstoffgüte
sonstige
Oberflächenschutz
galvanisch/elektrolytisch verzinkt
ETIM-Klasse
Befestigungsklammer

Oft zusammen gekauft