Zajadacz EVI

OBO 213 2000 DIN Kreuzerder

m.Anschlusslasche 2000mm St FT 5003024

Artikel
122003
Lieferanten Typ
213 2000 DIN
Lieferanten Artikel
5003024

Beschreibung

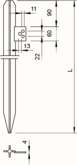
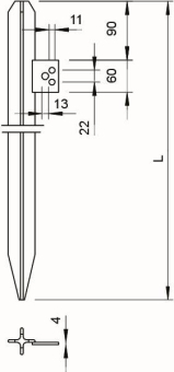
Kreuzerder mit Anschlusslasche

Kreuzprofil 50x50x3 mm,
1 Durchgangsloch Ø 13 mm
und 2 Durchgangslöchern Ø 11 mm
Rundleiterbefestigung z. B. mit Typ 5001 N-VA

FT Stahl, tauchfeuerverzinkt nach DIN EN ISO 1461

Hersteller-Seite

Artikeleigenschaften

Zolltarif-Nr.
85354000
ISO 50001 Zertifizierung
ISO 14001 Zertifizierung
Ursprungs-Land
HU
WEEE-Land
DE
WEEE-Nummer
64419409
Ausführung
mit Anschlusslasche
Kreuzprofil
Art der Verbindung
sonstige
Länge
2000 mm
Werkstoff
Stahl
Oberflächenschutz
feuerverzinkt
ETIM-Klasse
Staberder/Tiefenerder

Artikelinformationen vom Hersteller

Oft zusammen gekauft