Zajadacz EVI

OBO SL GTSA2050 cws Seitenabschluss

Gerätetank SL 9001 rechts +links 6132197

Artikel
6040387
Lieferanten Typ
SL GTSA5070 cws
Lieferanten Artikel
6132197

Beschreibung

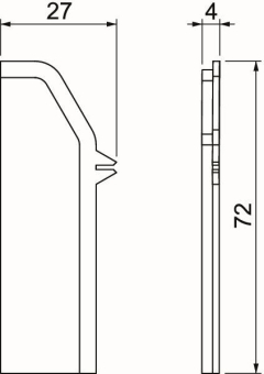
Seitenabschlussblende zum seitlichen Verschließen des Geräteträgers.

Hersteller-Seite

Artikeleigenschaften

Zolltarif-Nr.
39259020
Ursprungs-Land
HU
WEEE-Land
DE
WEEE-Nummer
64419409
Länge
4 mm
Werkstoff
Kunststoff
Werkstoffgüte
Polyvinylchlorid (PVC)
Halogenfrei
Farbe
weiß
RAL-Nummer
9001
Mit Schutzfolie
Schutzart (IP)
IP40
Schlagfestigkeit
IK06
ETIM-Klasse
Geräteblende für Geräteeinbaukanal

Artikelinformationen vom Hersteller

Oft zusammen gekauft