Zajadacz EVI

Schneider Kunststofffenster NSYVA278MA

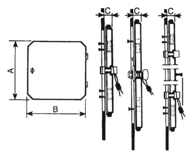
m.klappbarem trans. Deckel L78xB165xT25

Artikel
5025039
Lieferanten Typ
NSYVA278MA
Lieferanten Artikel
NSYVA278MA

Beschreibung

Kunststofffenster mit klappbarer transparenter Abdeckung. H78 x B165 x T25 mm. Universelles Installationszubehör. Installation an Tür oder Verkleidung. Nicht abschließbar, Sicherung über eine Schraube möglich. Polycarbonat transparent. Kompatibilität PanelSeT CRN/S3D, PanelSeT PLA/PLS/PLM.

Hersteller-Seite

Artikeleigenschaften

Zolltarif-Nr.
39269097
Reach
2025-07-17 - Ja
Ursprungs-Land
ES
WEEE-Land
DE
WEEE-Nummer
33842582
Werkstoff der Fensterscheibe
Kunststoff
Scharnierend
Breite
165 mm
Höhe
78 mm
Tiefe
25 mm
Schutzart (IP)
IP65
ETIM-Klasse
Fenster (Schaltschrank)

Artikelinformationen vom Hersteller